¹óÖÝÊ¡
- ¿Õ¼äе÷
- ²¿·ÖÐͬ
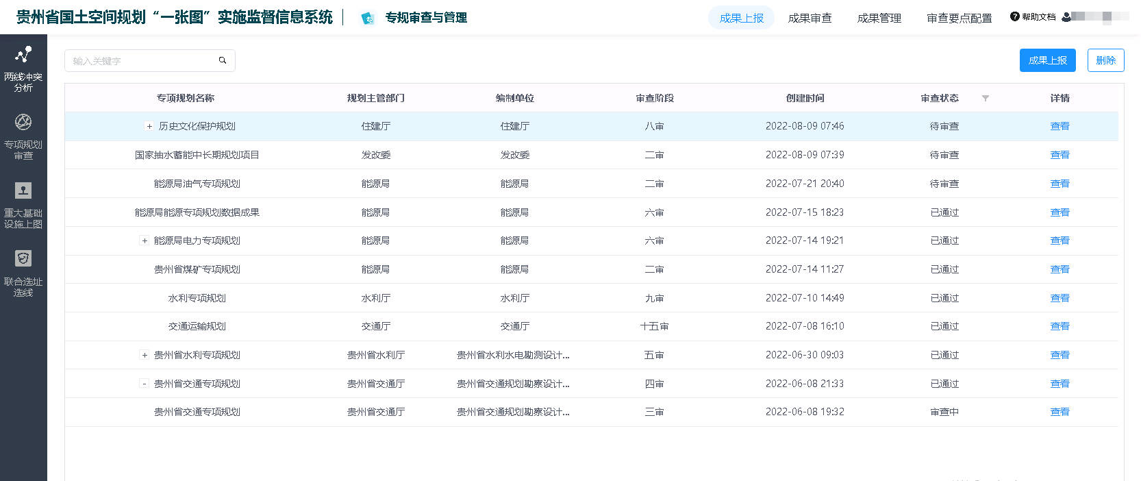
¹óÖÝÊ¡×ÔÈ»×ÊÔ´Ìüƾ֤¡°ÅúǰÉó²é¡¢ÅúºóÉÏͼ¡±µÄÊÂÇéÒªÇ󣬣¬£¬£¬£¬£¬ÒÀÍÐÁìÍÁ¿Õ¼äÍýÏë¡°Ò»ÕÅͼ¡±ÏµÍ³£¬£¬£¬£¬£¬£¬Ðµ÷ÖÖÖÖרÏîÍýÏëµÄ¿Õ¼äÐèÇ󣬣¬£¬£¬£¬£¬Ì½Ë÷ÐԵؿªÕ¹ÁË9¸öʡֱ²¿·Ö10Ïî¿Õ¼äÀàרÏîÍýÏëµÄÔÚÏßͳ³ïÐͬÖÎÀí£¬£¬£¬£¬£¬£¬²¢Í¨¹ýÊý¾Ý¡¢Ö¸±ê¡¢¹æÔò¡¢Ä£×ÓÖÇÄÜ»¯×±Å䣬£¬£¬£¬£¬£¬¸¨Öú¿ªÕ¹×¨ÏîÍýÏëЧ¹ûµÄÊÖÒÕÉó²é£¬£¬£¬£¬£¬£¬ÉîÈëÍÆ½øÂäʵ¡°¶à¹æºÏÒ»¡±£¬£¬£¬£¬£¬£¬¼ÓËÙÍÆ¶¯¿Õ¼äÖÎÀíÊý×Ö»¯×ªÐÍ¡£¡£¡£¡£¡£
-
£¨Ò»£©ÅúǰÉó²é£¬£¬£¬£¬£¬£¬Ðµ÷ì¶Ü³åÍ»
ÔÚÒâ¼ûÕ÷Çó½×¶Î£¬£¬£¬£¬£¬£¬Ïà¹Ø²¿·ÖÔÚÏßÌá½»ÌåÀýЧ¹û£¬£¬£¬£¬£¬£¬ÏµÍ³×Ô¶¯ÆÊÎöì¶Ü³åÍ»£¬£¬£¬£¬£¬£¬Í¬²½¿ªÕ¹´¦ÊÒÁªÉ󣬣¬£¬£¬£¬£¬ÔÚÏß·´Ïì³åÍ»ÇéÐμ°Éó²éÒâ¼û¡£¡£¡£¡£¡£ÔÚ¡°ÈýÇøÈýÏß¡±»®×¼Ê±´ú¾ÙÐÐÁË´ó×Úʵ¼ù¡£¡£¡£¡£¡£Í¨¹ýÏò·¢¸Ä¡¢ÄÜÔ´¡¢½»Í¨¡¢Ë®ÀûµÈ9¸öʡֱ²¿·ÖÌṩͳһÊý¾Ýµ×°å£¬£¬£¬£¬£¬£¬¿ª·Å¿Õ¼ä±È¶ÔÆÊÎöÓ¦Ó㬣¬£¬£¬£¬£¬ÓÃÓÚÆÊÎö¸÷רÏîÍýÏë¡¢ÖØ´óÏîÄ¿Óë¹Ü¿ØÒªËØÖ®¼äµÄ³åÍ»ÇéÐΣ¬£¬£¬£¬£¬£¬±ã½ÝÖ±¹ÛµØ¿´µ½Öصþ¹æÄ£¡¢ËùÊôÏîÄ¿¡¢ËùÔÚλÖÃÖÐÆÊÎöЧ¹û£¬£¬£¬£¬£¬£¬ÎªÊµÊ±¡¢Í×ÉÆ´¦Öóͷ£¿Õ¼äì¶Ü³åÍ»ÌṩÁËÓÐÁ¦Ö§³Ö¡£¡£¡£¡£¡£
-
£¨¶þ£©ÅúºóÉÏͼ£¬£¬£¬£¬£¬£¬ÖúÁ¦ÏîÄ¿Â䵨
ÔÚЧ¹ûÅú¸´½×¶Î£¬£¬£¬£¬£¬£¬Ïà¹Ø²¿·ÖÔÚÏßÌá½»Åú¸´Îļþ£¬£¬£¬£¬£¬£¬ÏµÍ³¶ÔÒÑÅú¸´µÄ½»Í¨¡¢Ë®ÀûµÈ²¿·ÖרÏîÍýÏëЧ¹ûÉÏͼÈë¿â£¬£¬£¬£¬£¬£¬ÊµÏÖרÏîÍýÏë´ÓÅúǰÒâ¼ûÕ÷Çóµ½ÅúºóÉÏͼÈë¿âÈ«Á÷³ÌÔÚÏßÐͬ¡£¡£¡£¡£¡£Í¬Ê±ÊµÏÖÖØ´ó»ù´¡ÉèÊ©ÏîÄ¿ÉÏͼÈë¿â£¬£¬£¬£¬£¬£¬ÊáÀíÃ÷È·ÖÖÖÖÏîÄ¿ºÍÓõØÐèÇ󣬣¬£¬£¬£¬£¬½«ÏêϸѡַλÖá°ÉÏͼ¡±Âäλ£»£»£»£»£»£»ÔÝʱÄÑÒÔÃ÷ȷѡַλÖõ쬣¬£¬£¬£¬£¬Ò²ÐèÒÔʾÒâ·½·¨¡°ÉÏͼ¡±£¬£¬£¬£¬£¬£¬´ó´ó½µµÍÁ˲¿·Ö¼äÏàͬ±¾Ç®£¬£¬£¬£¬£¬£¬Ìá¸ßÏîÄ¿ÂäµØÐ§ÂÊ¡£¡£¡£¡£¡£

רÏîÍýÏëЧ¹û»ã½»Áбí

½»Í¨×¨ÏîÍýÏëÓë¸ß±ê׼ũÌïÆÊÎöЧ¹û
Ïà¹Ø°¸Àý
-
¡¾Õò½ÊС¿±à¹ÜÐͬ£¬£¬£¬£¬£¬£¬ÖÇÄܾöÒ飬£¬£¬£¬£¬£¬ÖÇ¡°»æ¡±ÁìÍÁ¿Õ¼äÍýÏë֮·
¡¾Õò½ÊС¿±à¹ÜÐͬ£¬£¬£¬£¬£¬£¬ÖÇÄܾöÒ飬£¬£¬£¬£¬£¬ÖÇ¡°»æ¡±ÁìÍÁ¿Õ¼äÍýÏë֮·
-
È«³ÌÖÎÀí
-
ÖÇÄܾöÒé
-
º»Êµµ×°å
Éó²é¸ü¶à -
-
¡¾ÑïÖÝÊС¿Ê©Õ¹¡°µ×ͼ¡±¡°µ×Êý¡±×÷Ó㬣¬£¬£¬£¬£¬Ö§³ÖÑïÖÝ¿ÆÑ§ÍýÏë
¡¾ÑïÖÝÊС¿Ê©Õ¹¡°µ×ͼ¡±¡°µ×Êý¡±×÷Ó㬣¬£¬£¬£¬£¬Ö§³ÖÑïÖÝ¿ÆÑ§ÍýÏë
-
»¥Áª»¥Í¨
-
¿ÆÑ§ÍýÏë
Éó²é¸ü¶à -
-
¡¾»´°²ÊС¿¡°Ò»ÕÅͼ¡±ÂäʵÍýÏëÈ«ÖÜÆÚÖÎÀí£¬£¬£¬£¬£¬£¬¡°Ò»ÕÅÀ¶Í¼¡±Í³³ïÏîĿʵÑé
¡¾»´°²ÊС¿¡°Ò»ÕÅͼ¡±ÂäʵÍýÏëÈ«ÖÜÆÚÖÎÀí£¬£¬£¬£¬£¬£¬¡°Ò»ÕÅÀ¶Í¼¡±Í³³ïÏîĿʵÑé
-
Êý×Ö»¯
-
·Ö²ã·Ö¼¶
-
²¿·ÖÐͬ
Éó²é¸ü¶à -
-
¡¾ÕżҸÛÊС¿×ÔÈ»×ÊÔ´ºÍÍýÏëÖÎÀíÐÂģʽ
¡¾ÕżҸÛÊС¿×ÔÈ»×ÊÔ´ºÍÍýÏëÖÎÀíÐÂģʽ
-
ӪҵˢÐÂÓÅ»¯
-
ÈýÖ¤Æë·¢
-
ÖÝÀïÐͬ
Éó²é¸ü¶à -